HICAD/DRAFT for Windows 入門編

[目次][索引][前へ][次へ]

4.4 円弧を描きます

円弧を描きます。

  1. [図データ](円)をクリックします。
  2. [図データ](中心指定円弧)をクリックします。

    [図データ]

  3. マウスを少しずつ動かして,図のような表示になる点を探します。「中心点」として,一点鎖線上の点([図データ])をクリックします。

    [図データ]

  4. 中心点が同じで始点と終点が違う円弧を後で描くので,ここまで入力した内容が残るように[図データ](HOLD)をクリックします。

    [図データ]

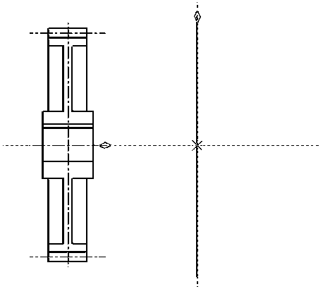
  5. マウスを少しずつ動かして,図のような表示になる点を探します。「始点」として,一点鎖線上の点([図データ])をクリックします。

    [図データ]

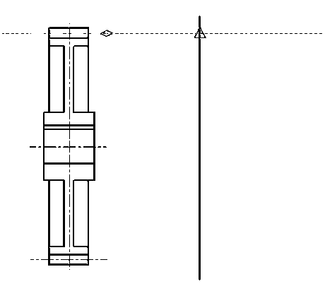
  6. マウスを少しずつ動かして,図のような表示になる点を探します。「終点」として,一点鎖線上の点(△)をクリックします。

    [図データ]

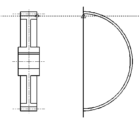
  7. [図データ](中心指定円弧)を続けて使います。[図データ](HOLD)をクリックしておいたので,「中心点」には,先程入力した内容が残っています。マウスを少しずつ動かして,図のような表示になる点を探します。「始点」として,一点鎖線上の点([図データ])をクリックします。

    [図データ]

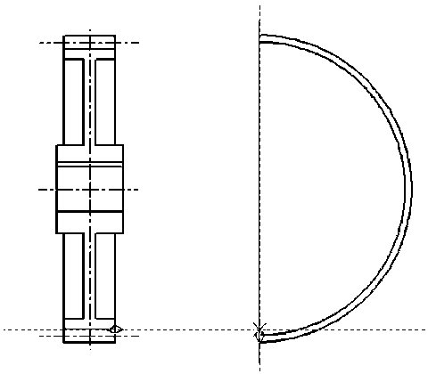
  8. マウスを少しずつ動かして,図のような表示になる点を探します。「終点」として,一点鎖線上の点([図データ])をクリックします。

    [図データ]

  9. [図データ](中心指定円弧)を続けて使います。[図データ](HOLD)をクリックしておいたので,「中心点」には,先程入力した内容が残っています。マウスを少しずつ動かして,図のような表示になる点を探します。「始点」として,一点鎖線上の点([図データ])をクリックします。

    [図データ]

  10. マウスを少しずつ動かして,図のような表示になる点を探します。「終点」として,一点鎖線上の点(△)をクリックします。

    [図データ]

  11. [図データ](中心指定円弧)を続けて使います。[図データ](HOLD)をクリックしておいたので,「中心点」には,先程入力した内容が残っています。マウスを少しずつ動かして,図のような表示になる点を探します。「始点」として,一点鎖線上の点([図データ])をクリックします。

    [図データ]

  12. 「終点」として,一点鎖線上の点(△)をクリックします。

    [図データ]

  13. これで,必要な円弧がすべて描けました。

    [図データ]