HICAD/DRAFT for Windows 入門編

[目次][索引][前へ][次へ]

4.3 直線を描きます

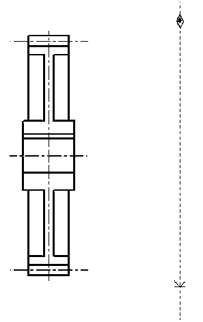
平歯車の中心を示す直線を描きます。

  1. [図データ](直線)をクリックします。
  2. [図データ](直線)をクリックします。

    [図データ]

  3. [図データ](コマンド特有モードメニュー)をクリックします。

    [図データ]

  4. 形状モード変更ダイアログが表示されます。

    [図データ]

  5. 「実線」の「中線」をクリックしてから,[OK]ボタンをクリックします。

    [図データ]

  6. [図データ](直線)の「点・基準方向・基準要素・角度」として,直線を描き始める点(+)をクリックします。クリックする位置は,左の図形の上の端より更に上です。

    [図データ]

  7. 「点」として,直線を描き終わる点([図データ])をクリックします。クリックする位置は,左の図形の下の端より更に下です。

    [図データ]

  8. これで,平歯車の中心を示す直線が描けました。

    [図データ]