HICAD/DRAFT for Windows 入門編
![[目次]](FIGURE/CONTENT.GIF)
![[索引]](FIGURE/INDEX.GIF)
![[前へ]](FIGURE/FRONT.GIF)
円を描きます。
(中心指定円)をクリックします。
![[図データ]](FIGURE/ZU040401.GIF)
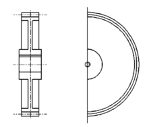
- マウスを少しずつ動かして,図のような表示になる点を探します。「中心点」として,一点鎖線上の点(◎)をクリックします。
![[図データ]](FIGURE/ZU040402.GIF)
(ウィンドウ拡大)をクリックします。
![[図データ]](FIGURE/TBSIZUP.GIF)
- 拡大する範囲をドラッグして決めます。
![[図データ]](FIGURE/ZU040403.GIF)
- マウスを少しずつ動かして,図のような表示になる点を探します。「直径・円周点」として,一点鎖線上の点(
)をクリックします。
![[図データ]](FIGURE/ZU040404.GIF)
- これで,必要な円が描けました。
![[図データ]](FIGURE/ZU040405.GIF)
All Rights Reserved. Copyright (C) 1998, 2007, Hitachi, Ltd.