画面・帳票サポートシステム XMAP3 開発ガイド

[目次][用語][索引][前へ][次へ]

8.5.21 塗りつぶし

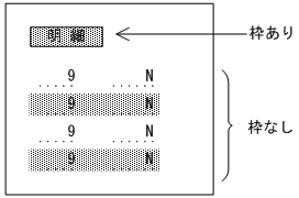
塗りつぶしフィールドは,オブジェクトの背景を塗りつぶすときに使用します。フィールドボックス内で使用できます。フレームなどで反復表示されているオブジェクトを行ごとに色分けして見やすくする場合などに活用できます。

フィールドボックス内に配置してあるオブジェクトに対して塗りつぶしの領域をかぶせて指定すると,オブジェクトの背景が塗りつぶされます。画面上に,部分的に背景色が異なる状態を作れます。フレームなどで反復表示されているオブジェクトを行ごとに色分けして見やすくする場合などに利用できます。

すべての背景を塗りつぶす場合は,反復されている領域すべてに対して塗りつぶしの領域をかぶせます。塗りつぶす色は,ドロー定義時に設定します。

<この項の構成>
(1) 設定できる項目
(2) 表示形式

(1) 設定できる項目

塗りつぶしの項目と設定できる値を次の表に示します。

表8-42 塗りつぶしの項目と設定できる値

項目 動的変更 設定できる値
ライトブルー,ライトグレー,ライトグリーン,ライトイエロー,白,赤,緑,青,ライトレッド,黄,グレー,黒,ダークグレー,ダークグリーン,ダークブルー
枠付き(フィールドに枠を付ける) チェックあり/チェックなし
(凡例)
−:動的変更できない。

(2) 表示形式

[図データ]