Scalable Database Server, HiRDB Version 8 Installation and Design Guide

[Contents][Index][Back][Next]

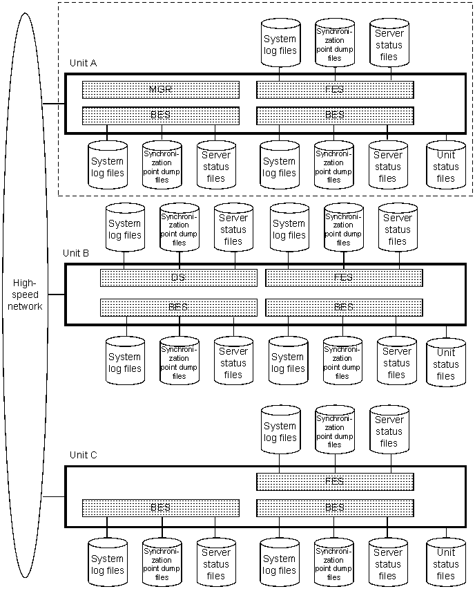
4.4.5 Example of system file creation (HiRDB/Parallel Server)

This section explains the system file creation procedure by way of example, based on the following system configuration:

[Figure]

MGR: System manager

FES: Front-end server

DS: Dictionary server

BES: Back-end server

Configuration of the HiRDB file system area
[Figure]

Explanation
This is a sample configuration of HiRDB file system areas for unit A. The following examples are all based on the system file creation for unit A.
Organization of this subsection
(1) Defining system files (specifying HiRDB system definitions)
(2) Creating the HiRDB file system areas
(3) Creating the system files

(1) Defining system files (specifying HiRDB system definitions)

Define the system files in the HiRDB system definitions.

(a) Unit control information definitions (for unit status files)

Define the unit status files in the unit control information definitions.

Definition example
 
set pd_syssts_file_name_1="u1sts1","C:\sysarea01\u1sts01a"\
                                  ,"C:\sysarea02\u1sts01b"
set pd_syssts_file_name_2="u1sts2","C:\sysarea02\u1sts02a"\
                                  ,"C:\sysarea03\u1sts02b"
set pd_syssts_file_name_3="u1sts3","C:\sysarea03\u1sts03a"\
                                  ,"C:\sysarea01\u1sts03b"
 
(b) FES1 front-end server definitions

Define system log files, the synchronization point dump files, and server status files in the FES1 front-end server definitions.

Definition example of system log files
 
set pd_log_rec_leng=4096
pdlogadfg -d sys -g f1log1 ONL
pdlogadfg -d sys -g f1log2 ONL
pdlogadfg -d sys -g f1log3 ONL
pdlogadpf -d sys -g f1log1 -a "C:\sysarea01\f1log01a"\
                           -b "C:\sysarea02\f1log01b"
pdlogadpf -d sys -g f1log2 -a "C:\sysarea02\f1log02a"\
                           -b "C:\sysarea03\f1log02b"
pdlogadpf -d sys -g f1log3 -a "C:\sysarea03\f1log03a"\
                           -b "C:\sysarea01\f1log03b"
 

Definition example of synchronization point dump files
 
pdlogadfg -d spd -g f1sync1 ONL
pdlogadfg -d spd -g f1sync2 ONL
pdlogadfg -d spd -g f1sync3 ONL
pdlogadpf -d spd -g f1sync1 -a "C:\sysarea01\f1sync01"
pdlogadpf -d spd -g f1sync2 -a "C:\sysarea02\f1sync02"
pdlogadpf -d spd -g f1sync3 -a "C:\sysarea03\f1sync03"
 

Definition example of server status files
 
set pd_sts_file_name_1="f1sts1","C:\sysarea01\f1sts01a"\
                               ,"C:\sysarea02\f1sts01b"
set pd_sts_file_name_2="f1sts2","C:\sysarea02\f1sts02a"\
                               ,"C:\sysarea03\f1sts02b"
set pd_sts_file_name_3="f1sts3","C:\sysarea03\f1sts03a"\
                               ,"C:\sysarea01\f1sts03b"
 
(c) BES1 back-end server definitions

Define system log files, synchronization point dump files, and server status files in the BES1 back-end server definitions.

Definition example of system log files
 
set pd_log_rec_leng=4096
pdlogadfg -d sys -g b1log1 ONL
pdlogadfg -d sys -g b1log2 ONL
pdlogadfg -d sys -g b1log3 ONL
pdlogadpf -d sys -g b1log1 -a "C:\sysarea01\b1log01a"\
                           -b "C:\sysarea02\b1log01b"
pdlogadpf -d sys -g b1log2 -a "C:\sysarea02\b1log02a"\
                           -b "C:\sysarea03\b1log02b"
pdlogadpf -d sys -g b1log3 -a "C:\sysarea03\b1log03a"\
                           -b "C:\sysarea01\b1log03b"
 

Definition example of synchronization point dump files
 
pdlogadfg -d spd -g b1sync1 ONL
pdlogadfg -d spd -g b1sync2 ONL
pdlogadfg -d spd -g b1sync3 ONL
pdlogadpf -d spd -g b1sync1 -a "C:\sysarea01\b1sync01"
pdlogadpf -d spd -g b1sync2 -a "C:\sysarea02\b1sync02"
pdlogadpf -d spd -g b1sync3 -a "C:\sysarea03\b1sync03"
 

Definition example of server status files
 
set pd_sts_file_name_1="b1sts1","C:\sysarea01\b1sts01a"\
                               ,"C:\sysarea02\b1sts01b"
set pd_sts_file_name_2="b1sts2","C:\sysarea02\b1sts02a"\
                               ,"C:\sysarea03\b1sts02b"
set pd_sts_file_name_3="b1sts3","C:\sysarea03\b1sts03a"\
                               ,"C:\sysarea01\b1sts03b"
 
(d) BES2 back-end server definitions

Define system log files, synchronization point dump files, and server status files in the BES2 back-end server definitions.

Definition example of system log files
 
set pd_log_rec_leng=4096
pdlogadfg -d sys -g b2log1 ONL
pdlogadfg -d sys -g b2log2 ONL
pdlogadfg -d sys -g b2log3 ONL
pdlogadpf -d sys -g b2log1 -a "C:\sysarea01\b2log01a"\
                           -b "C:\sysarea02\b2log01b"
pdlogadpf -d sys -g b2log2 -a "C:\sysarea02\b2log02a"\
                           -b "C:\sysarea03\b2log02b"
pdlogadpf -d sys -g b2log3 -a "C:\sysarea03\b2log03a"\
                           -b "C:\sysarea01\b2log03b"
 

Definition example of synchronization point dump files
 
pdlogadfg -d spd -g b2sync1 ONL
pdlogadfg -d spd -g b2sync2 ONL
pdlogadfg -d spd -g b2sync3 ONL
pdlogadpf -d spd -g b2sync1 -a "C:\sysarea01\b2sync01"
pdlogadpf -d spd -g b2sync2 -a "C:\sysarea02\b2sync02"
pdlogadpf -d spd -g b2sync3 -a "C:\sysarea03\b2sync03"
 

Definition example of server status files
 
set pd_sts_file_name_1="b2sts1","C:\sysarea01\b2sts01a"\
                               ,"C:\sysarea02\b2sts01b"
set pd_sts_file_name_2="b2sts2","C:\sysarea02\b2sts02a"\
                               ,"C:\sysarea03\b2sts02b"
set pd_sts_file_name_3="b2sts3","C:\sysarea03\b2sts03a"\
                               ,"C:\sysarea01\b2sts03b"
 

(2) Creating the HiRDB file system areas

Use the pdfmkfs command to create the HiRDB file system areas.

Example of command entry
 
pdfmkfs -n 50 -l 20 -i -k SYS C:\sysarea01
pdfmkfs -n 50 -l 20 -i -k SYS C:\sysarea02
pdfmkfs -n 50 -l 20 -i -k SYS C:\sysarea03
 

(3) Creating the system files

(a) Creating the system log files

Use the pdloginit command to create the system log files.

Example of command entry (FES1)
 
pdloginit -d sys -s f001 -f C:\sysarea01\f1log01a -n 1024
pdloginit -d sys -s f001 -f C:\sysarea01\f1log03b -n 1024
pdloginit -d sys -s f001 -f C:\sysarea02\f1log02a -n 1024
pdloginit -d sys -s f001 -f C:\sysarea02\f1log01b -n 1024
pdloginit -d sys -s f001 -f C:\sysarea03\f1log03a -n 1024
pdloginit -d sys -s f001 -f C:\sysarea03\f1log02b -n 1024
 

Example of command entry (BES1)
 
pdloginit -d sys -s b001 -f C:\sysarea01\b1log01a -n 1024
pdloginit -d sys -s b001 -f C:\sysarea01\b1log03b -n 1024
pdloginit -d sys -s b001 -f C:\sysarea02\b1log02a -n 1024
pdloginit -d sys -s b001 -f C:\sysarea02\b1log01b -n 1024
pdloginit -d sys -s b001 -f C:\sysarea03\b1log03a -n 1024
pdloginit -d sys -s b001 -f C:\sysarea03\b1log02b -n 1024
 

Example of command entry (BES2)
 
pdloginit -d sys -s b002 -f C:\sysarea01\b2log01a -n 1024
pdloginit -d sys -s b002 -f C:\sysarea01\b2log03b -n 1024
pdloginit -d sys -s b002 -f C:\sysarea02\b2log02a -n 1024
pdloginit -d sys -s b002 -f C:\sysarea02\b2log01b -n 1024
pdloginit -d sys -s b002 -f C:\sysarea03\b2log03a -n 1024
pdloginit -d sys -s b002 -f C:\\syarea03\b2log02b -n 1024
 
(b) Creating the synchronization point dump file

Use the pdloginit command to create the synchronization point dump file.

Example of command entry (FES1)
 
pdloginit -d spd -s f001 -f C:\sysarea01\f1sync01 -n 64
pdloginit -d spd -s f001 -f C:\sysarea02\f1sync02 -n 64
pdloginit -d spd -s f001 -f C:\sysarea03\f1sync03 -n 64
 

Example of command entry (BES1)
 
pdloginit -d spd -s b001 -f C:\sysarea01\b1sync01 -n 64
pdloginit -d spd -s b001 -f C:\sysarea02\b1sync02 -n 64
pdloginit -d spd -s b001 -f C:\sysarea03\b1sync03 -n 64
 

Example of command entry (BES2)
 
pdloginit -d spd -s b002 -f C:\sysarea01\b2sync01 -n 64
pdloginit -d spd -s b002 -f C:\sysarea02\b2sync02 -n 64
pdloginit -d spd -s b002 -f C:\sysarea03\b2sync03 -n 64
 
(c) Creating the server status files

Use the pdstsinit command to create the server status files.

Example of command entry (FES1)
 
pdstsinit -s f001 -f C:\sysarea01\f1sts01a -l 4096 -c 256
pdstsinit -s f001 -f C:\sysarea01\f1sts03b -l 4096 -c 256
pdstsinit -s f001 -f C:\sysarea02\f1sts02a -l 4096 -c 256
pdstsinit -s f001 -f C:\sysarea02\f1sts01b -l 4096 -c 256
pdstsinit -s f001 -f C:\sysarea03\f1sts03a -l 4096 -c 256
pdstsinit -s f001 -f C:\sysarea03\f1sts02b -l 4096 -c 256
 

Example of command entry (BES1)
 
pdstsinit -s b001 -f C:\sysarea01\b1sts01a -l 4096 -c 256
pdstsinit -s b001 -f C:\sysarea01\b1sts03b -l 4096 -c 256
pdstsinit -s b001 -f C:\sysarea02\b1sts02a -l 4096 -c 256
pdstsinit -s b001 -f C:\sysarea02\b1sts01b -l 4096 -c 256
pdstsinit -s b001 -f C:\sysarea03\b1sts03a -l 4096 -c 256
pdstsinit -s b001 -f C:\sysarea03\b1sts02b -l 4096 -c 256
 

Example of command entry (BES2)
 
pdstsinit -s b002 -f C:\sysarea01\b2sts01a -l 4096 -c 256
pdstsinit -s b002 -f C:\sysarea01\b2sts03b -l 4096 -c 256
pdstsinit -s b002 -f C:\sysarea02\b2sts02a -l 4096 -c 256
pdstsinit -s b002 -f C:\sysarea02\b2sts01b -l 4096 -c 256
pdstsinit -s b002 -f C:\sysarea03\b2sts03a -l 4096 -c 256
pdstsinit -s b002 -f C:\sysarea03\b2sts02b -l 4096 -c 256
 
(d) Creating the unit status files

Use the pdstsinit command to create the unit status files.

Example of command entry
 
pdstsinit -u unt1 -f C:\sysarea01\u1sts01a -l 4096 -c 256
pdstsinit -u unt1 -f C:\sysarea01\u1sts03b -l 4096 -c 256
pdstsinit -u unt1 -f C:\sysarea02\u1sts02a -l 4096 -c 256
pdstsinit -u unt1 -f C:\sysarea02\u1sts01b -l 4096 -c 256
pdstsinit -u unt1 -f C:\sysarea03\u1sts03a -l 4096 -c 256
pdstsinit -u unt1 -f C:\sysarea03\u1sts02b -l 4096 -c 256