1.2 DABrokerの使用環境
DABrokerを使用すると,多様な環境でデータベースにアクセスできます。
DABrokerを使ったデータベースアクセスには,リモートアクセスとローカルアクセスの2種類があります。
リモートアクセスとは,クライアント側でアプリケーションが動作する環境を指します。DBPARTNER,HITSENSER5,DBPARTNER Library,又はXDM/RD外部表からのアクセスもリモートアクセスに分類されます。
ローカルアクセスとは,サーバ側でアプリケーションが動作する環境を指します。
DABrokerが対応する環境(形態)は次のとおりです。
-
クライアントマシン,サーバマシンの間でTCP/IPなどを使用して通信するシステム形態です。クライアント/サーバ環境でDABrokerを使用する場合には,図1-2で示す(1)〜(4)の形態があります。クライアント/サーバ環境は,リモートアクセスに分類されます。
(1),(2)の形態については「1.3 アプリケーション開発用インタフェースの使用」を,(3)〜(6)の形態については「1.4 DBPARTNER,HITSENSER5などからのアクセス」を参照してください。
図1‒2 DABrokerの使用環境−1 -
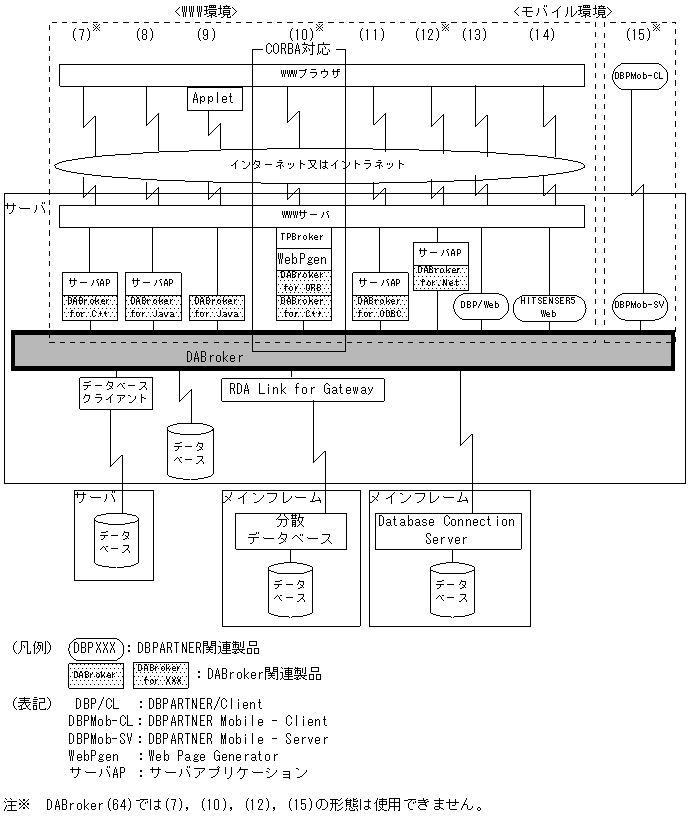
インターネット又はイントラネットを利用したシステム形態です。WWW環境でDABrokerを使用する場合には,図1-3で示す(7)〜(14)の形態があります。WWW環境は,主にローカルアクセスに分類されます。(13),(14)の形態だけは,リモートアクセスに分類されます。(7)〜(12)の形態については,WWW環境だけでなく,サーバアプリケーションの内容によって,クライアント/サーバ環境での運用もできます。(7)〜(12)の形態については,「1.3 アプリケーション開発用インタフェースの使用」を,(13),(14)の形態については「1.4 DBPARTNER,HITSENSER5などからのアクセス」を参照してください。
-
ノート型パーソナルコンピュータなどの携帯端末から公衆回線網を使って,移動先からLAN内の各種サーバにあるデータを利用する環境をモバイル環境と呼びます。モバイル環境は,リモートアクセスに分類されます。モバイル環境でDABrokerを使用する場合には,図1-3で示す(15)の形態があります。(15)については,「1.4 DBPARTNER,HITSENSER5などからのアクセス」を参照してください。
図1‒3 DABrokerの使用環境−2