DABroker

[目次][用語][索引][前へ][次へ]

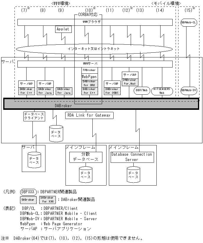
1.2 DABrokerの使用環境

DABrokerを使用すると,多様な環境でデータベースにアクセスできます。

DABrokerを使ったデータベースアクセスには,リモートアクセスとローカルアクセスの2種類があります。

リモートアクセスとは,クライアント側でアプリケーションが動作する環境を指します。DBPARTNER,HITSENSER5,DBPARTNER Library,又はXDM/RD外部表からのアクセスもリモートアクセスに分類されます。

ローカルアクセスとは,サーバ側でアプリケーションが動作する環境を指します。

DABrokerが対応する環境(形態)は次のとおりです。

<この節の構成>
1.2.1 アプリケーション開発用インタフェースが豊富
1.2.2 DBPARTNER,HITSENSER5,DBPARTNER Library,XDM/RD外部表からのアクセスをサポート
1.2.3 アクセスできるデータベースの種類が豊富
1.2.4 分散トランザクション処理