Scalable Database Server, HiRDB Version 8 System Operation Guide

[Contents][Index][Back][Next]

25.2.2 System configuration examples of a HiRDB/Parallel Server

A HiRDB/Parallel Server performs system switchover at the unit level. System configuration examples for a HiRDB/Parallel Server are explained below.

Organization of this subsection
(1) Example of a 1-to-1 switchover configuration
(2) Example of mutual system switchover configuration

(1) Example of a 1-to-1 switchover configuration

A configuration in which there is a one-to-one correspondence between the running system and the standby system is called a 1-to-1 switchover configuration. This configuration is appropriate when it is important to guarantee response time when system switchover becomes necessary. The drawback of this configuration is that you cannot utilize the resources of the server machine in the standby system (you do not have access to the resources of one of your two server machines). Figure 25-18 shows an example of a 1-to-1 switchover configuration for a HiRDB/Parallel Server.

Figure 25-18 System configuration example for a HiRDB/Parallel Server (1-to-1 switchover configuration)

[Figure]

* This product is required in order to operate the system switchover facility in the server mode. However, it is not required when the cluster software in use is HA monitor.

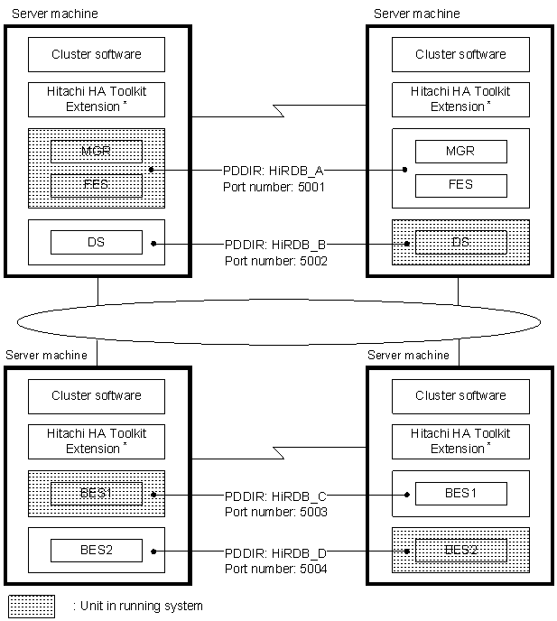
(2) Example of mutual system switchover configuration

A system configuration in which the running system has a system on the same server machine that acts as its mutual standby system (standby system for another unit) is called a mutual system switchover configuration. In a HiRDB/Parallel Server, systems can be switched over in units. Therefore, whereas a mutual system switchover configuration cannot be applied to a single HiRDB/Single Server, it can be applied to a single HiRDB/Parallel Server. When a mutual system switchover configuration is applied to a HiRDB/Parallel Server, the running unit and the standby unit (standby unit for another unit) can be positioned within the same server machine. This configuration is appropriate for making efficient use of server machine resources. However, response time slows when system switchover occurs.

Figure 25-19 shows an example of a mutual system switchover configuration for a HiRDB/Parallel Server.

Figure 25-19 System configuration example for a HiRDB/Parallel Server (mutual system switchover)

[Figure]

* This product is required in order to operate the system switchover facility in the server mode. However, it is not required when the cluster software in use is HA monitor.

For examples of the HiRDB system definitions for the mutual system switchover configuration, see the manual HiRDB Version 8 System Definition.

Note
If you use the mutual system switchover configuration (or the 2-to-1 switchover configuration), two units may run on a single server machine. Therefore, you must pay attention to the following:
  • The HiRDB directory names
  • The port numbers
When running these two units on a single server machine, give each unit a different name and port number. Also, if IP addresses will not be inherited after system switchover, you must also pay attention to the following:
  • Host names and IP addresses

Provide each unit on the same server machine with a unique host name and IP address.

Figure 25-20 shows an example of correct host name setup; Figure 25-21 shows an example of incorrect host name setup.

Figure 25-20 Example of correct host name setup

[Figure]

The following is an example of correct pdunit operand specifications:

 
pdunit -x hostA -u UNT1  ...  -c hostAA
pdunit -x hostB -u UNT2  ...  -c hostBB
 

Furthermore, host names corresponding to different IP addresses must be specified for hostA, hostAA, hostB, and hostBB.

Figure 25-21 Example of incorrect host name setup

[Figure]

The following is an example of incorrect pdunit operand specifications:

 
pdunit -x hostA -u UNT1  ...  -c hostB
pdunit -x hostB -u UNT2  ...  -c hostA
 

Explanation
If IP addresses are not to be inherited in a mutual system switchover configuration, the host names specified in the -x and -c options of the pdunit operand must all be different (host names cannot be duplicated).