2.6.3 Map cooperation (symbol cooperation)
The map cooperation (symbol cooperation) function registers the resource status during resource collection (threshold monitoring) and the application status (process and service monitoring) in NNMi for each node symbol in the NNMi map view. The statuses registered in NNMi are associated with Normal, Warning, Critical, or Unknown status in SSO. The registered statuses allow users to visually understand the monitoring statuses in SSO by the color of the node symbol in the NNMi map view. This function is especially useful for checking for monitoring servers in Warning or Critical status.
This function can also be used for NMMi on another host by using the event destination definition file (ssodest.conf).
The following figure shows examples of the NNMi map view and the node property window.
|
|
If the resource status and application status that reflect the statuses managed in SSO are registered in NNMi, the node symbols in the NNMi map view are displayed in green, yellow, blue-green, orange, or red according to the status. Note that if different statuses are displayed in the node property window, the color for the most severe status is applied to the node.
For details on the correspondence between the statuses managed in SSO and the statuses registered in NNMi, see (2) Correspondence between the statuses managed in SSO and the severity statuses registered in NNMi.
For details on how the node symbol colors and the statuses of NNMi are determined, see (3) How the statuses registered in NNMi are determined.
- Organization of this subsection
(1) Map cooperation (symbol cooperation) operating conditions
(a) Status registration conditions
When all of the following conditions are met, the resource and application statuses managed in SSO are added as severity statuses to the properties of nodes displayed in the NNMi map view:
-
NNMi cooperation is possible.
-
In the ssoapmon action definition file (ssoapmon.def) or ssocolmng action definition file (ssocolmng.def), the value of the nnm-map-coop: key is on.
-
Threshold monitoring is enabled (for resource collection only).
-
The initial resource status or application status after start of collection (monitoring)# has been determined.
- #:
-
This includes the case where the ssocolmng or ssoapmon daemon process is stopped without collection (monitoring) being stopped, and that collection automatically resumes when the daemon process is restarted.
(b) Status update conditions
While the status registration conditions in (a) above are met, the status is updated when either of the following events occurs:
-
The resource status or application status changes.
-
The ssomapstatus -sync command is executed.
For details on the ssomapstatus command, see ssomapstatus in 5. Commands.
(c) Status deletion conditions
The statuses registered as properties of nodes in the NNMi map view are deleted when any of the following events occurs:
-
Collection (monitoring) stops.#
-
The collection status changes to Standing by or Impossibility.
-
Threshold monitoring is disabled (for resource collection only).
-
The ssomapstatus -del command is executed.
- #:
-
This includes the case where collection (monitoring) conditions are deleted and the case where the daemon process is stopped.
For details on the ssomapstatus command, see ssomapstatus in 5. Commands.
(d) Behavior when NNMi cooperation becomes impossible
When NNMi cooperation becomes impossible, the statuses registered as properties of nodes in the NNMi map view remain as they are, and when NNMi cooperation becomes possible again, these statuses are updated. However, if you delete collection conditions while NNMi cooperation is impossible, the statuses corresponding to the deleted collection conditions are left undeleted. If such statuses remain, delete them by using the ssomapstatus -del command. For details on the ssomapstatus command, see ssomapstatus in 5. Commands.
(e) Status registration, update, and deletion
Status registration, update, and deletion are executed regardless of the mode in which the node is managed by NNMi (Managed, Not managed, or Service stopped).
(2) Correspondence between the statuses managed in SSO and the severity statuses registered in NNMi
The following table describes the correspondence between the statuses managed in SSO and the severity statuses registered in NNMi.
|
Status managed in SSO |
Status registered in NNMi |
||
|---|---|---|---|
|
Monitoring object |
Monitoring status |
Severity status#1 |
Result |
|
Resource status |
Normal |
Normal |
SSO_Resource_Normal |
|
Warning |
Minor, warning#2, major, or critical |
SSO_Resource_Warning |
|
|
Critical |
Major or critical#2 |
SSO_Resource_Critical |
|
|
Unknown |
Warning |
SSO_Resource_Unknown |
|
|
Application status |
Normal |
Normal |
SSO_Application_Normal |
|
Warning |
Minor, warning#2, major, or critical |
SSO_Application_Warning |
|
|
Critical |
Major or critical#2 |
SSO_Application_Critical |
|
|
Unknown |
Warning |
SSO_Application_Unknown |
|
- #1:
-
The following lists the node symbol colors corresponding to the respective statuses:
Normal: Green
Minor: Yellow
Warning: Blue-green
Major: Orange
Critical: Red
- #2:
-
The Warning monitoring status in SSO can be associated with one of four severity statuses in NNMi. The Critical monitoring status in SSO can be associated with one of two severity statuses in NNMi. For details on how to specify the NNMi severity status to be associated, see the descriptions of the map-status-warning: key and the map-status-critical: key in 6.3.7 ssoapmon action definition file (ssoapmon.def) and 6.3.8 ssocolmng action definition file (ssocolmng.def).
(3) How the statuses registered in NNMi are determined
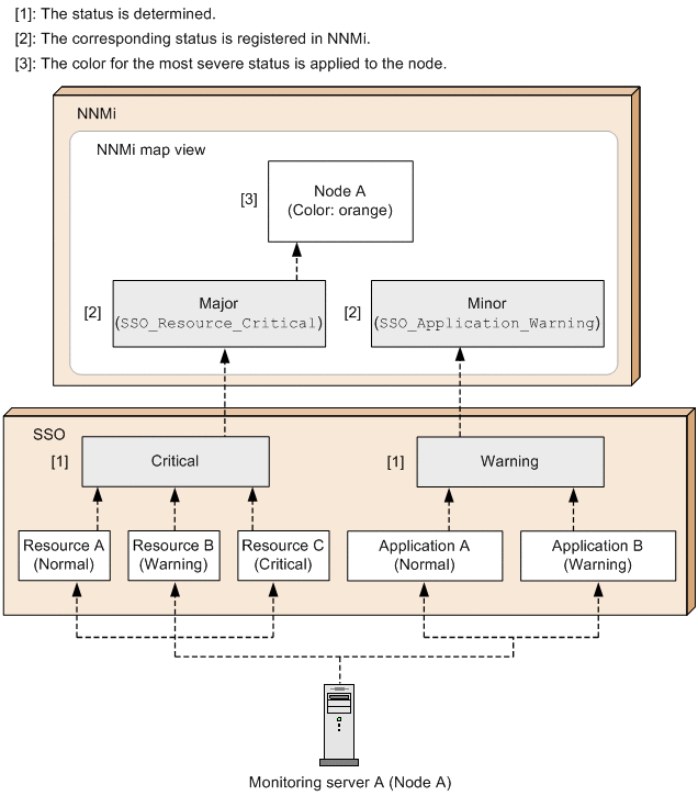
Monitoring multiple resources or applications on a monitoring server means that you must manage multiple resource or application statuses for that server. However, if different resource statuses or application statuses exist on a monitoring server, only the most severe status is registered in NNMi as the resource status or the application status. The resource status or application status is determined as follows:
-
The color for the most severe of the resource statuses or application statuses is applied to the node in the NNMi map view.#
-
If multiple resources to be monitored exist on a monitoring server, the status of the resource in the most severe status is registered.
-
If multiple applications exist to be monitored on a monitoring server, the status of the application in the most severe status is registered.
-
The severity order of resource or application statuses is as follows: Unknown > Critical > Warning > Normal
- #:
-
The statuses that are used to determine the node color include those that are registered by NNMi itself.
The following figure shows how the status registered in NNMi is determined.
|
|