Hitachi

JP1 Version 12 JP1/Automatic Job Management System 3 Operator's Guide


12.1 Windows

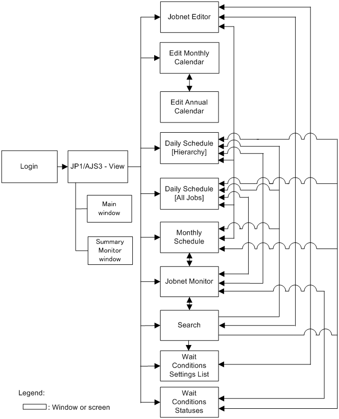
The following figure shows the relationships among the windows that JP1/AJS3 - View displays.

Figure 12‒1: Transitions among windows

[Figure]

The following table lists the windows JP1/AJS3 - View displays.

Table 12‒1: Windows

Window

Description

Login screen

Logs in to JP1/AJS3 - Manager.

JP1/AJS3 - View window

  • Defines a job group, a planning group, and a root jobnet.

  • Registers or deregisters a jobnet for execution.

  • Monitors the progress of a jobnet or a planning group.

  • Monitors the execution status and execution result of a jobnet.

  • Temporarily changes the schedule of a jobnet after it has started or cancels the changed schedule.

  • Cancels the execution of a jobnet or forcibly ends a jobnet.

  • Re-executes a jobnet.

  • Performs release entry or release cancel for a jobnet.

Jobnet Editor window

Defines a jobnet.

Edit Monthly Calendar window

Defines monthly calendar information about a job group.

Edit Annual Calendar window

Defines Edit Annual Calendar information about a job group.

Daily Schedule (Hierarchy) window

  • Displays and edits a daily schedule for executing a jobnet, and displays a jobnet or job in the tree area.

  • Registers or deregisters a jobnet for execution.

  • Temporarily changes or cancels changes to the schedule of a running jobnet.

  • Stops or kills the execution of a jobnet.

  • Reruns a jobnet.

Daily Schedule (All Jobs) window

  • Displays and edits a daily schedule for executing a job, or displays all jobs under the particular job group or jobnet in the tree area.

  • Kills the execution of a job.

  • Reruns a job.

Monthly Schedule window

  • Displays and edits a monthly schedule for executing a jobnet.

  • Registers or deregisters a jobnet for execution.

  • Temporarily changes or cancels changes to the schedule of a running jobnet.

  • Stops or kills the execution of a jobnet.

  • Reruns a jobnet.

Jobnet Monitor window

  • Monitors the status and results of jobnet execution.

  • Temporarily changes or cancels changes to the schedule of a running jobnet.

  • Stops or kills the execution of a jobnet.

  • Reruns a jobnet.

Search window

  • Searches for a unit.

  • Temporarily changes or cancels changes to the schedule of a running jobnet.

  • Stops or kills the execution of a jobnet.

  • Reruns a jobnet.

Wait Conditions Settings List window

Displays the settings of a wait condition.

Wait Conditions Statuses window

  • Checks the status of units with wait conditions and units whose ends are being waited for.

  • Temporarily enables or disables a wait condition.