Nonstop Database, HiRDB Version 9 Command Reference

[Contents][Index][Back][Next]

8.10.1 How to use a UOC during reorganization

You use the reorganization method that uses a UOC mainly in the following cases:

Organization of this subsection
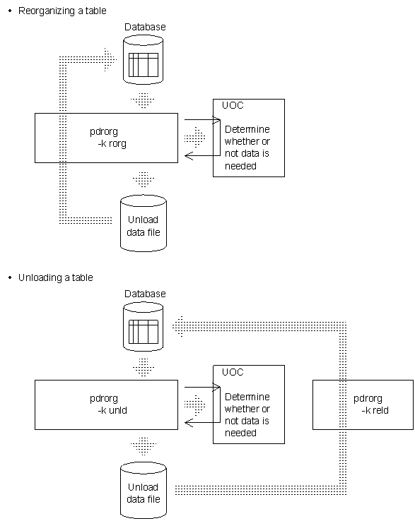
(1) Deleting unneeded data
(2) Updating data for use by applications

(1) Deleting unneeded data

You can output only data that is needed to an unload data file by using a UOC during the unload operation for table reorganization or during the table unload operation to determine which data is needed.

The figure below provides an overview of reorganization using a UOC (deleting unneeded data).

Figure 8-23 Overview of reorganization using a UOC (deleting unneeded data)

[Figure]

(2) Updating data for use by applications

When you unload a table, you can use a UOC to update or edit the data and output it to an unload data file. The resulting unload data file is in pdload's input data file format.

You can also use a UOC to update or edit data and save it in a file in a desired format. The obtained file is called a UOC data file.

The figure below provides an overview of reorganization using a UOC (updating data for use by applications).

Figure 8-24 Overview of reorganization using a UOC (updating data for use by applications)

[Figure]

Note that you can update data for use by applications only when -k unld is specified, in which case you also need to specify the -W option.

Legend:
Y: Checked.
N: Not checked.
--: Not applicable

#1: Checks the length part of the variable-length character string, BINARY, or large object data type. If the value of the length part is negative, an error results.

In the case of a variable-length character string, an error results if the value of the length part exceeds 32,000 bytes.

If a column has the large object data type or the return value of the constructor parameter reverse creation function specified in the unld_func statement has the large object data type, bloblimit is specified in the unlduoc statement, and the data exceeds the specified memory space allocation size, an error results. If bloblimit is not specified in the unlduoc statement, an error results if the data size exceeds 2 gigabytes.

#2: Checks the sign part (4 bits) in the packed format. An error results if the sign part is not 0xC, 0xD, or 0xF.

#3: For the packed format, an error results if the packed data (4 bits) is none of 0x0 to 0x9. For other formats, pdrorg does not check the contents of data values.

#4: An error results if the value is invalid as date, time, or time stamp data (such as the month part of date data exceeding 12).