Nonstop Database, HiRDB Version 9 Installation and Design Guide

[Contents][Index][Back][Next]

23.1.2 Using the multi-connection address facility to connect to a HiRDB server

It may not be possible in some network configurations to connect to a HiRDB system even though the host name is specified in the pdunit operand. This happens when the network between the HiRDB client and HiRDB system is different from the network connecting the HiRDB system's server machines.

In such a case, the multi-connection address facility can be used. This facility enables connection to the HiRDB system without having to specify the same host name in the PDHOST/PDFESHOT operand and the pdunit operand.

Organization of this subsection
(1) Using the multi-connection address facility
(2) Examples of network configurations and definitions using the multi-connection address facility

(1) Using the multi-connection address facility

To use the multi-connection address facility, the -m option of the pdstart operand must be specified in the system common definition. To also use the system switchover facility, the -n option must be specified in addition to the -m option.

The HiRDB client specifies in the -m and -n options the host name of the HiRDB system to which connection can be established in the network; this does not have to be the host name specified in the pdunit operand.

(2) Examples of network configurations and definitions using the multi-connection address facility

(a) HiRDB/Single Server

The following figure shows an example of a network configuration and definition using the multi-connection address facility (for HiRDB/Single Server).

Figure 23-2 Example of network configuration and definition: HiRDB/Single Server

[Figure]

Explanation:
  • The host name (HS01) used for the network communications between the HiRDB systems is specified in the -x option of the pdunit operand.
  • The host name (he01) in the network that is used between the HiRDB client and the HiRDB/Single Server is specified in the -m option of the pdstart operand.
  • The host name (he01) in the network that is used between the HiRDB client and the HiRDB/Single Server is specified in the PDHOST operand in the client environment definition.
(b) HiRDB/Parallel Server

The following figure shows an example of a network configuration and definition using the multi-connection address facility (for HiRDB/Parallel Server).

Figure 23-3 Example of network configuration and definition: HiRDB/Parallel Server

[Figure]

Explanation:
  • The host names (HS01 and HS02) used for the network communications between the HiRDB systems are specified in the -x option of the pdunit operand.
  • The host name (he03) in the network that is used between the HiRDB client and the HiRDB system is specified in the -m option of the pdstart operand (for defining the front-end server).
  • The host name (he01) where the system manager is located in the network that is used between the HiRDB client and the HiRDB system is specified in the PDHOST operand in the client environment definition.
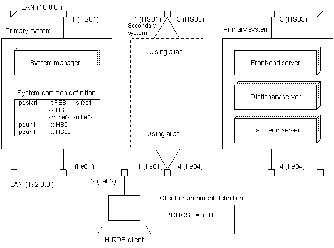
(c) HiRDB/Parallel Server (with inheritance of IP addresses during system switchover)

The following figure shows an example of a network configuration and definition using the multi-connection address facility (with inheritance of IP addresses during system switchover).

Figure 23-4 Example of network configuration and definition: With inheritance of IP addresses during system switchover

[Figure]

Explanation:
  • The host names (HS01 and HS03) used for the network communications between the HiRDB systems are specified in the -x option of the pdunit operand.
  • The host name (he04) in the network that is used between the HiRDB client and the HiRDB system is specified in the -m option of the pdstart operand (for defining the front-end server). The host name of the secondary system (he04) is specified in the -n option.
  • The host name (he01) where the system manager is located in the network that is used between the HiRDB client and the HiRDB system is specified in the PDHOST operand in the client environment definition.
(d) HiRDB/Parallel Server (without inheritance of IP addresses during system switchover)

The following figure shows an example of a network configuration and definition using the multi-connection address facility (without inheritance of IP addresses during system switchover).

Figure 23-5 Example of network configuration and definition: Without inheritance of IP addresses during system switchover

[Figure]

Explanation:
  • The host names (HS01 and HS03) used for the network communications between the HiRDB systems are specified in the -x option of the pdunit operand. The host name of the secondary system (HS02) is specified in the -c option.
  • The host name (he04) in the network that is used between the HiRDB client and the HiRDB system is specified in the -m option of the pdstart operand (for defining the front-end server). The host name of the secondary system (he03) is specified in the -n option.
  • The host name (he01) where the system manager is located in the network that is used between the HiRDB client and the HiRDB system is specified in the PDHOST operand in the client environment definition. The host name of the secondary system (he03) is also specified.