Nonstop Database, HiRDB Version 9 Installation and Design Guide

[Contents][Index][Back][Next]

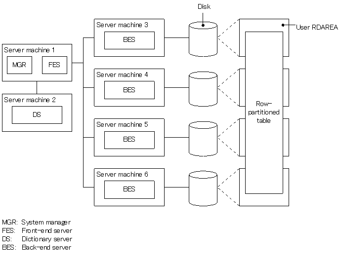
12.3.3 Forms of table row partitioning

Following are the basic forms of table row partitioning:

Figures 12-8 and 12-9 show these forms.

Figure 12-8 Table row partitioning form for a HiRDB/Single Server

[Figure]

Figure 12-9 Table row partitioning form for a HiRDB/Parallel Server

[Figure]