Groupmax Version 6導入ガイド
Groupmaxでは,使用するクライアントプログラムによって,利用できる機能やマシン構成が異なります。Groupmaxで使用できるクライアントプログラムは,次のように分類できます。
- 専用クライアント
- Integrated Desktopが相当します。専用クライアントは,Windows上でだけ使えます。
- 一般流通品
- 次の2種類に分類できます。前提となるOSは,製品ごとに異なります。
- WWWブラウザ
- POP3,IMAP4メールクライアント
ここでは,使用するクライアントプログラムの種類ごとに,サーバプログラムとの関連を説明します。
- 補足説明
- サーバへのログインは,使用するクライアントプログラムの種類に関係なくカウントされます。したがって,異なる種類のクライアントプログラムからであっても,同じユーザIDでは同時にログインできません。
- Groupmaxのサーバとクライアントの関係は,マシンの物理的な接続形態の違いによっても分類できます。
- LAN環境
- WAN環境
- ダイアルアップ接続環境
以上の各形態にインターネットを連携させた形態もあります。
- <この項の構成>
- (1) 専用クライアントを使用した場合
- (2) 一般流通品をクライアントとして使用した場合
専用クライアントを使用した場合の,クライアントプログラムとサーバプログラムの関連を図3-2に示します。
図3-2 クライアントプログラムとサーバプログラムの関連(専用クライアントの場合)
クライアントプログラムがどのサーバの機能を利用する場合でも,最初にAddress Serverでのユーザ認証が必要です。ユーザ認証の後で,各機能のサーバプログラムに接続されます。ユーザ認証は,Groupmaxをログアウトするまで有効です。Groupmaxをログアウトしなければ,別のサーバの機能を利用する場合もAddress Serverでのユーザ認証は省略され,各機能のサーバに直接接続されます。
- 補足説明
- 専用クライアント「Integrated Desktop」の環境で使用する機能は,Integrated Desktopの次の画面で指定します。
- [ツール]−[オプション]コマンドで表示される「オプション」ダイアログの「接続システム」タグ
- [ツール]−[Groupmaxの設定]−[Agentの設定]コマンドで表示される「Agentの設定」ダイアログ
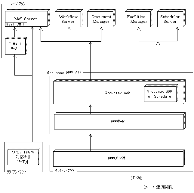
一般流通品をクライアントとして使用した場合の,クライアントプログラムとサーバプログラムの関連を図3-3に示します。
図3-3 クライアントプログラムとサーバプログラムの関連(一般流通品の場合)
一般流通品をGroupmaxのクライアントプログラムとして使用する場合には,WWWブラウザを使用する方法と,POP3,IMAP4対応クライアントを使用する方法があります。ただし,どちらの場合もAgent Serverの機能は使用できません。
WWWブラウザを使用した場合は,Groupmax WWWを経由して,各機能を受け持つGroupmaxサーバに接続します。図3-3のGroupmax WWWマシンとサーバマシンは,理論上は一つのマシンで実現できますが,マシンへの負荷が大きくなるため,別のマシンに分ける方が適切です。
POP3メールクライアントを使用した場合は,Mail Serverの個人メールの送受信機能だけを利用できます。また,IMAP4メールクライアントを使用した場合は,Mail Serverが提供する個人メールの送受信機能,及び掲示板の参照だけが利用できます。その他のGroupmaxサーバの機能は利用できません。
- 補足説明
- WWWサーバ,及びE-Mailサーバとして使用できるサーバについては,Groupmax WWW,及びMail - SMTPのRead Meを参照してください。
All Rights Reserved, Copyright (C) 2001, Hitachi, Ltd.