Nonstop Database, HiRDB Version 9 Command Reference
![[Contents]](FIGURE/CONTENT.GIF)
![[Index]](FIGURE/INDEX.GIF)
![[Back]](FIGURE/FRONT.GIF)
This section presents an example of using the database reorganization utility (reorganizing indexes).
- Example 1
- This example reorganizes the indexes (INDEX1 and INDEX2) defined for a table (TABLE1).
- The example assumes that the following table and indexes have been defined:
CREATE TABLE TABLE1(C1 INT NOT NULL,C2 CHAR(8),C3 INT)
IN ((PDBUSER01) C1 > 10,(PDBUSER02))
- Index definition (partitioning key index):
CREATE INDEX INDEX1 ON TABLE1(C1)
IN ((PDBUSER03),(PDBUSER05))
- Index definition (non-partitioning key index):
CREATE INDEX INDEX2 ON TABLE1(C2,C1)
IN ((PDBUSER04),(PDBUSER06))
- Overview
![[Figure]](FIGURE/ZU880020.GIF)
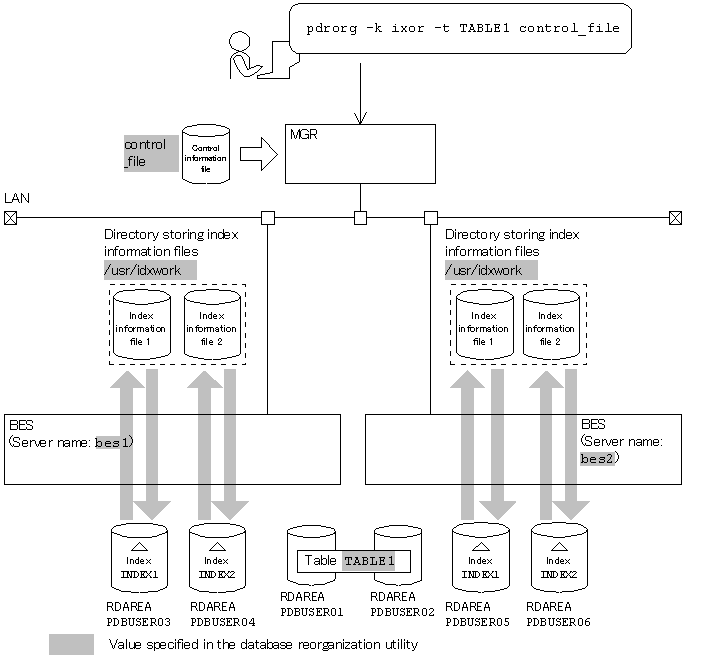
- Relationship between input/output files and RDAREAs
![[Figure]](FIGURE/ZX880100.GIF)
- Explanation of the command
- This example reorganizes the indexes (INDEX1 and INDEX2) defined for a table (TABLE1).
- -k ixor: Specification for index reorganization
- -t TABLE1: Name of the table subject to index reorganization
- control_file: Name of the control information file
- Contents of the control information file (control_file)
idxname name=* 1
idxwork bes1 /usr/idx_file 2
idxwork bes2 /usr/idx_file 2
|
- Explanation:
- Specifies index reorganization in units of indexes:
*: Specification for reorganizing all indexes defined for the table (TABLE1)
- Specifies the directory for index information files:
bes1, bes2: Names of the servers used to create index information
/usr/idx_file: Name of the directory in which index information files are created
All Rights Reserved. Copyright (C) 2011, 2015, Hitachi, Ltd.