Nonstop Database, HiRDB Version 9 Command Reference

[Contents][Index][Back][Next]

3.5 Examples

Example 1 shows an example of the use of the database initialization utility.

Example 1
Create the following RDAREAs:
  • PDBMAST (master directory RDAREA)
  • PDBDDIR (data directory RDAREA)
  • PDBDDIC (data dictionary RDAREA)
  • PDBDICL1 (data dictionary LOB RDAREA)
  • PDBDICL2 (data dictionary LOB RDAREA)
  • PDBUSER01 (user RDAREA)
  • PDBULOB01 (user LOB RDAREA)
  • PDBUSER02 (user RDAREA)
The following HiRDB file system areas have already been created:
  • /svr01 (character special files)
  • /svr02 (character special files)
  • /dbarea/area1 (regular files)

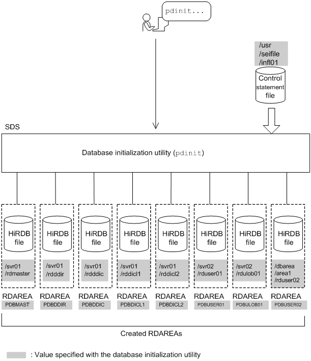
HiRDB single server configuration

Overview
[Figure]

Command execution
 
 pdinit -d /usr/seifile/infl01
 

Contents of control statement file (/usr/seifile/infl01)
 
/* Definition of master directory RDAREA */
 create rdarea PDBMAST   ...............................1
               for masterdirectory   ...................2
               page 4096 characters   ..................3
               storage control segment 50 pages   ......4
               file name "/svr01/rdmaster"
                   initial 10 segments ;   .............5
 
/* Definition of data directory RDAREA */
 create rdarea PDBDDIR   ...............................6
               for datadirectory   .....................7
               page 4096 characters   ..................8
               storage control segment 50 pages   ......9
               file name "/svr01/rdddir"
                   initial 5 segments ;   ..............10
 
/* Definition of data dictionary RDAREA */
 create rdarea PDBDDIC   ...............................11
               for datadictionary   ....................12
               page 4096 characters   ..................13
               storage control segment 30 pages   ......14
               file name "/svr01/rdddic"
                   initial 150 segments ;   ............15
 
/* Definition of data dictionary LOB RDAREA */
 create rdarea PDBDICL1   ..............................16
               for LOB used by HiRDB(SQL_ROUTINES)   ...17
               page 8192 characters   ..................18
               storage control segment 1 pages   .......19
               file name "/svr01/rddicl1"
                   initial 200 segments ;   ............20
 
/* Definition of data dictionary LOB RDAREA */
 create rdarea PDBDICL2   ..............................21
               for LOB used by HiRDB(SQL_ROUTINES)   ...22
               page 8192 characters   ..................23
               storage control segment 1 pages   .......24
               file name "/svr01/rddicl2"
                   initial 2000 segments ;   ...........25
 
/* Definition of user RDAREA */
 create rdarea PDBUSER01   .............................26
               for user used by PUBLIC   ...............27
               page 4096 characters   ..................28
               storage control segment 150 pages   .....29
               file name "/svr02/rduser01"
                   initial 50 segments ;   .............30
 
/* Definition of user LOB RDAREA */
 create rdarea PDBULOB01   .............................31
               for LOB used by PUBLIC   ................32
               page 8192 characters   ..................33
               storage control segment 1 pages   .......34
               file name "/svr02/rdulob01"
                   initial 50 segments ;   .............35
 
/* Definition of user RDAREA */
 create rdarea PDBUSER02   .............................36
               for user used by USERID   ...............37
               page 4096 characters   ..................38
               storage control segment 50 pages   ......39
               file name "/dbarea/area1/rduser02"
                   initial 100 segments ;   ............40
 

Explanation
  1. Name of RDAREA: PDBMAST
  2. Type of RDAREA: Master directory RDAREA
  3. Page length: 4,096 bytes
  4. Segment size: 50 pages
  5. HiRDB file comprising the RDAREA:
    • Name: /svr01/pdmaster
    • Number of segments: 10
  6. Name of RDAREA: PDBDDIR
  7. Type of RDAREA: Data directory RDAREA
  8. Page length: 4,096 bytes
  9. Segment size: 50 pages
  10. HiRDB file comprising the RDAREA:
    • Name: /svr01/rdddir
    • Number of segments: 5
  11. Name of RDAREA: PDBDDIC
  12. Type of RDAREA: Data dictionary RDAREA
  13. Page length: 4,096 bytes
  14. Segment size: 30 pages
  15. HiRDB file comprising the RDAREA:
    • Name: /svr01/rdddic
    • Number of segments: 150
  16. Name of RDAREA: PDBDICL1
  17. Type of RDAREA: Data dictionary LOB RDAREA (stores stored procedure definition source statements)
  18. Page length: 8,192 bytes
  19. Segment size: 1 page
  20. HiRDB file comprising the RDAREA:
    • Name: /svr01/rddicl1
    • Number of segments: 200
  21. Name of RDAREA: PDBDICL2
  22. Type of RDAREA: Data dictionary LOB RDAREA (stores stored procedure objects)
  23. Page length: 8,192 bytes
  24. Segment size: 1 page
  25. HiRDB file comprising the RDAREA:
    • Name: /svr01/rddicl2
    • Number of segments: 2,000
  26. Name of RDAREA: PDBUSER01
  27. Type of RDAREA: User RDAREA (public)
  28. Page length: 4,096 bytes
  29. Segment size: 150 pages
  30. HiRDB file comprising the RDAREA:
    • Name: /svr02/rduser01
    • Number of segments: 50
  31. Name of RDAREA: PDBULOB01
  32. Type of RDAREA: User LOB RDAREA (public)
  33. Page length: 8,192 bytes
  34. Segment size: 1 page
  35. HiRDB file comprising the RDAREA:
    • Name: /svr02/rdulob01
    • Number of segments: 50
  36. Name of RDAREA: PDBUSER02
  37. Type of RDAREA: User RDAREA (private)
    Authorization identifier: USERID
  38. Page length: 4,096 bytes
  39. Segment size: 50 pages
  40. HiRDB file comprising the RDAREA:
    • Name: /dbarea/area1/rduser02
    • Number of segments: 100

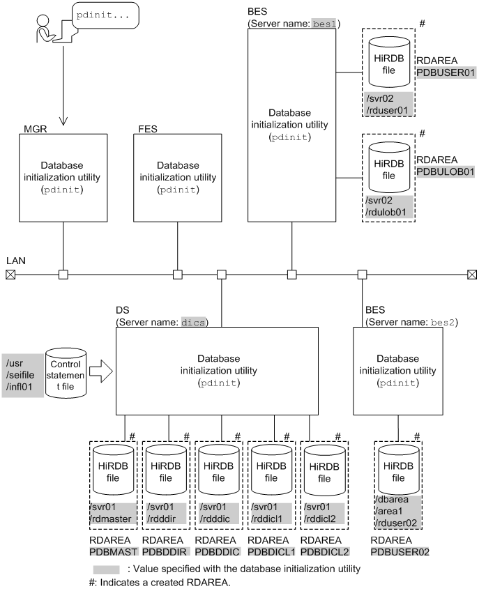
HiRDB parallel server configuration

Overview
[Figure]

Command execution
 
 pdinit -d /usr/seifile/infl01
 

Contents of control statement file (/usr/seifile/infl01)
 
/* Definition of master directory RDAREA */
 create rdarea PDBMAST   ..........................................1
               for masterdirectory   ..............................2
               server name dics   .................................3
               page 4096 characters   .............................4
               storage control segment 50 pages   .................5
               file name "/svr01/rdmaster"
                   initial 10 segments ;   ........................6
 
/* Definition of data directory RDAREA */
 create rdarea PDBDDIR   ..........................................7
               for datadirectory   ................................8
               server name dics   .................................9
               page 4096 characters   .............................10
               storage control segment 50 pages   .................11
               file name "/svr01/rdddir"
                   initial 5 segments ;   .........................12

/* Definition of data dictionary RDAREA */
 create rdarea PDBDDIC   ..........................................13
               for datadictionary   ...............................14
               server name dics   .................................15
               page 4096 characters   .............................16
               storage control segment 30 pages   .................17
               file name "/svr01/rdddic"
                   initial 150 segments ;   .......................18

/* Definition of data dictionary LOB RDAREA */
 create rdarea PDBDICL1   .........................................19
               for LOB used by HiRDB(SQL_ROUTINES)   ..............20
               server name dics   .................................21
               page 8192 characters   .............................22
               storage control segment 1 pages   ..................23
               file name "/svr01/rddicl1"
                   initial 200 segments ;   .......................24

/* Definition of data dictionary LOB RDAREA */
 create rdarea PDBDICL2   .........................................25
               for LOB used by HiRDB(SQL_ROUTINES)   ..............26
               server name dics   .................................27
               page 8192 characters   .............................28
               storage control segment 1 pages   ..................29
               file name "/svr01/rddicl2"
                   initial 2000 segments ;   ......................30

/* Definition of user RDAREA */
 create rdarea PDBUSER01   ........................................31
               for user used by PUBLIC   ..........................32
               server name bes1   .................................33
               page 4096 characters   .............................34
               storage control segment 150 pages   ................35
               file name "/svr02/rduser01"
                   initial 50 segments ;   ........................36

/* Definition of user LOB RDAREA */
 create rdarea PDBULOB01   ........................................37
               for LOB used by PUBLIC   ...........................38
               server name bes1   .................................39
               page 8192 characters   .............................40
               storage control segment 1 pages   ..................41
               file name "/svr02/rdulob01"
                   initial 50 segments ;   ........................42

/* Definition of user RDAREA */
 create rdarea PDBUSER02   ........................................43
               for user used by USERID   ..........................44
               server name bes2   .................................45
               page 4096 characters   .............................46
               storage control segment 50 pages   .................47
               file name "/dbarea/area1/rduser02"
                   initial 100 segments ;   .......................48
 

Explanation
  1. Name of RDAREA: PDBMAST
  2. Type of RDAREA: Master directory RDAREA
  3. Name of server to manage the RDAREA: dics
  4. Page length: 4,096 bytes
  5. Segment size: 50 pages
  6. HiRDB file comprising the RDAREA:
    • Name: /svr01/pdmaster
    • Number of segments: 10
  7. Name of RDAREA: PDBDDIR
  8. Type of RDAREA: Data directory RDAREA
  9. Name of server to manage the RDAREA: dics
  10. Page length: 4,096 bytes
  11. Segment size: 50 pages
  12. HiRDB file comprising the RDAREA:
    • Name: /svr01/rdddir
    • Number of segments: 5
  13. Name of RDAREA: PDBDDIC
  14. Type of RDAREA: Data dictionary RDAREA
  15. Name of server to manage the RDAREA: dics
  16. Page length: 4,096 bytes
  17. Segment size: 30 pages
  18. HiRDB file comprising the RDAREA:
    • Name: /svr01/rdddic
    • Number of segments: 150
  19. Name of RDAREA: PDBDICL1
  20. Type of RDAREA: Data dictionary LOB RDAREA (stores stored procedure definition source statements)
  21. Name of server to manage the RDAREA: dics
  22. Page length: 8,192 bytes
  23. Segment size: 1 page
  24. HiRDB file comprising the RDAREA:
    • Name: /svr01/rddicl1
    • Number of segments: 200
  25. Name of RDAREA: PDBDICL2
  26. Type of RDAREA: Data dictionary LOB RDAREA (stores stored procedure objects)
  27. Name of server to manage the RDAREA: dics
  28. Page length: 8,192 bytes
  29. Segment size: 1 page
  30. HiRDB file comprising the RDAREA:
    • Name: /svr01/rddicl2
    • Number of segments: 2,000
  31. Name of RDAREA: PDBUSER01
  32. Type of RDAREA: User RDAREA (public)
  33. Name of server to manage the RDAREA: bes1
  34. Page length: 4,096 bytes
  35. Segment size: 150 pages
  36. HiRDB file comprising the RDAREA:
    • Name: /svr02/rduser01
    • Number of segments: 50
  37. Name of RDAREA: PDBULOB01
  38. Type of RDAREA: User LOB RDAREA (public)
  39. Name of server to manage the RDAREA: bes1
  40. Page length: 8,192 bytes
  41. Segment size: 1 page
  42. HiRDB file comprising the RDAREA:
    • Name: /svr02/rdulob01
    • Number of segments: 50
  43. Name of RDAREA: PDBUSER02
  44. Type of RDAREA: User RDAREA (private)
    Authorization identifier: USERID
  45. Name of server to manage the RDAREA: bes2
  46. Page length: 4,096 bytes
  47. Segment size: 50 pages
  48. HiRDB file comprising the RDAREA:
    • Name: /dbarea/area1/rduser02
    • Number of segments: 100