Scalable Database Server, HiRDB Version 8 Command Reference

[Contents][Index][Back][Next]

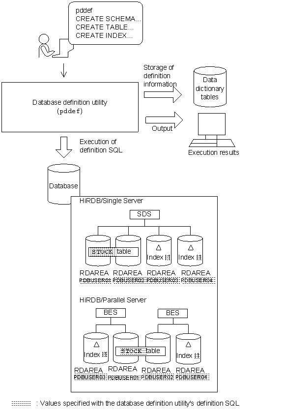
4.5 Examples

Example 1 shows an example of the use of the database definition utility.

Example 1
Define the following table and index:
  • Table: STOCK
  • Index: I1
The following RDAREAs have already been created:
  • PDBUSER01
  • PDBUSER02
  • PDBUSER03
  • PDBUSER04

Overview
[Figure]

Command execution

Explanation
  1. Definition of schema.
  2. Definition of table (STOCK).
  3. Definition of index (I1).

Explanation
Specification of input file /usr/crfile.

Contents of input file /usr/crfile
 
 CREATE SCHEMA;                                                   1
 CREATE TABLE STOCK(PCODE CHAR(4),PNAME NCHAR(8),                 2
                    COLOR NCHAR(1),PRICE INTEGER
                    SQUANTITY INTEGER)
               IN((PDBUSER01) PCODE<'302S',
                 (PDBUSER02) PCODE>='302S');
 CREATE INDEX I1 ON STOCK(PCODE) IN ((PDBUSER03),(PDBUSER04));    3
 

Explanation
  1. Definition of schema.
  2. Definition of table (STOCK).
  3. Definition of index (I1).