Scalable Database Server, HiRDB Version 8 Command Reference

[Contents][Index][Back][Next]

1.1 Overview

The commands used with HiRDB include operation commands and utilities. The same input methods and formats apply to both.

Organization of this section
(1) Command input method
(2) Command descriptive format
(3) Using a command by specifying an alias

(1) Command input method

A HiRDB command is input from a shell.

The command execution mode is shown in Figures 1-1 (for a HiRDB/Single Server) and 1-2 (for a HiRDB/Parallel Server).

Figure 1-1 Command execution mode: HiRDB/Single Server

[Figure]

Explanation

Use either of the following methods to input a command:

  1. Log in from a workstation or personal computer to the remote server machine where the single server is located, then enter the command
  2. Enter the command from the OS console by specifying the server machine where the single server is located

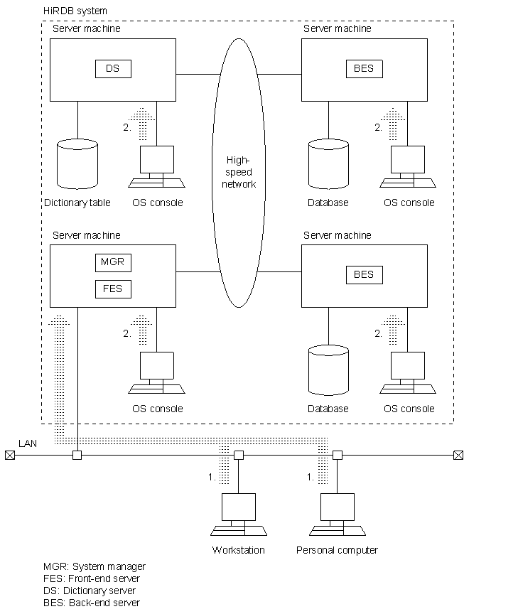
    Figure 1-2 Command execution mode: HiRDB/Parallel Server

    [Figure]

Explanation

Use either of the following methods to input a command:

  1. Log in from a workstation or personal computer to the remote server machine where the system manager* is located, then enter the command
  2. Enter the command from the OS console by specifying the server machine where the system manager* is located
    * Some commands are executed from a server machine other than the system manager. For details about the server machine used to execute each command, see Tables 1-1 List of operation commands and 1-2 List of utilities, and the details about each command.

(2) Command descriptive format

The following shows the command descriptive format:

command-name options command-arguments
(a) command-name

The command name is the file name of the command that is to be executed. Because file names are used as commands, the absolute path name of the HiRDB directory must be specified in the PDDIR environment variable of the environment for each command executor.

To execute HiRDB commands, the following environment variables must be specified in an executor's environment:

PDDIR
Specifies the absolute path name of the HiRDB directory

PDCONFPATH
Specifies the absolute path name of the directory in which the HiRDB system definition file is stored

PATH
Adds $PDDIR/bin to PATH

SHLIB_PATH
Adds $PDDIR/lib to SHLIB_PATH
(b) options

An option either qualifies the command's operation or specifies the object of the operation.

In the following explanations, cmd indicates a command name.

  1. An option is a character string beginning with a minus sign (-) that may or may not be followed by one or more flag arguments.
    The following shows the descriptive formats of options:
    -option-flag or -option-flag flag-argument(s)
    option-flag
    One alphanumeric character (case sensitive).
    flag-argument
    Argument of the option flag (multiple flag arguments can be specified by separating them with a comma (,)).
  2. Multiple option flags without flag arguments can be specified consecutively, preceded by a single minus sign.
    Example
    The following two specifications are treated as being the same:
    cmd -a -b -c
    cmd -abc
  3. If an option requires a flag argument, the flag argument cannot be omitted.
  4. When a command that is entered from a shell includes an option flag argument that contains a space, the entire flag argument must be enclosed in double quotation marks (").
    Example
    An option with argument "1 2" must be specified as follows:
    cmd -f "1 2"
  5. If the same option flag is specified more than once, the last specification is effective.
    Example
    If the following is specified, -a 2 is effective:
    cmd -a 1 -a 2
  6. All options must be specified before any command arguments.
    Example
    If option flag a does not take a flag argument, file and -b in the following specification are assumed to be command arguments:
    cmd -a file -b
  7. Two consecutive minus signs (--) indicate the end of the options.
    Example
    In the following specification, -b is assumed to be a command argument:
    cmd -a -- -b
  8. An option consisting of a minus sign only cannot be entered.
    Example
    In the following specification, - is assumed to be a command argument:
    cmd -
(c) command-arguments

A command argument specifies the direct object of a command's operation. If the object is to be qualified, options are used to specify the object.

A control statements file that is specified in a command argument is a regular file unless otherwise noted.

(3) Using a command by specifying an alias

If an operating system command or command in another program has the same name as a HiRDB command, the HiRDB command may fail to execute. If this happens, solve the problem as follows:

In situations when these two methods cannot be used, HiRDB commands can still be executed by assigning arbitrary names to them. For details about how to execute a command in terms of an alias, see the HiRDB Version 8 Installation and Design Guide.