Scalable Database Server, HiRDB Version 8 System Operation Guide

[Contents][Index][Back][Next]

25.4.2 HiRDB/Parallel Server

Organization of this subsection
(1) IP addresses inherited
(2) IP addresses not inherited
(3) IP addresses not inherited (only IP addresses for client connection inherited)

(1) IP addresses inherited

The following explains the procedure for handling (specifying) host names when IP addresses are inherited. The system configuration in this case is a mutual system switchover configuration.

System configuration example
[Figure]
Item Host names to be specified
Host names specified in system common definition pdunit -x hostA -u UNT1
pdunit -x hostB -u UNT2
pdunit -x hostC -u UNT3
pdunit -x hostD -u UNT4
Host names specified in the unit control information definition Unit 1 pd_hostname=host1
Unit 2 pd_hostname=host2
Unit 3 pd_hostname=host3
Unit 4 pd_hostname=host4
Host name specified during rlogin rlogin in server machine where BES1 is located hostC
rlogin in server machine where BES2 is located hostD
Host name specified in operation commands* Execution of operation commands in BES1 hostC
Execution of operation commands in BES2 hostD
Host name specified in utilities Execution of utilities in BES1 hostC
Execution of utilities in BES2 hostD
Host name displayed in messages Messages for BES1 hostC
Messages for BES2 hostD
Host name displayed in statistical information Statistical information about BES1 hostC
Statistical information about BES2 hostD
Host name specified in the following client environment definitions:
  • PDHOST
  • PDFESHOST
hostA

* The unit identifier may be specified instead of the host name.

(2) IP addresses not inherited

The following explains the procedure for handling (specifying) host names when IP addresses are not inherited. The system configuration in this case is a mutual system switchover configuration.

System configuration example
[Figure]
Hint
If the standard host names are the same (host1 = host2, host3 = host4), HiRDB cannot recognize a system switchover. Therefore, use different default host names.
 
Item Host names to be specified
Host names specified in system common definition pdunit -x hostA -u UNT1 -c hostAA
pdunit -x hostB -u UNT2 -c hostBB
pdunit -x hostC -u UNT3 -c hostCC
pdunit -x hostD -u UNT4 -c hostDD
Host names specified in the unit control information definition Unit 1 pd_hostname=host1
Unit 2 pd_hostname=host2
Unit 3 pd_hostname=host3
Unit 4 pd_hostname=host4
Host name specified during rlogin rlogin in server machine where BES1 is located hostC or hostD (specify the host name of the running system)
rlogin in server machine where BES2 is located hostC or hostD (specify the host name of the running system)
Host name specified in operation commands1 Execution of operation commands in BES1 hostC
Execution of operation commands in BES2 hostD
Host name specified in utilities Execution of utilities in BES1 hostC
Execution of utilities in BES2 hostD
Host name displayed in messages Messages for BES1 hostC
Messages for BES2 hostD
Host name displayed in statistical information Statistical information about BES1 hostC
Statistical information about BES2 hostD
Host name specified in the following client environment definitions:
  • PDHOST
  • PDFESHOST
hostA and hostB2

1 The unit identifier may be specified instead of the host name.

2 When units in the system manager do not inherit IP addresses, specify the host names of the primary system and secondary system in the PDHOST operand of the client environment definition. When units in the front-end server do not inherit IP addresses, specify the host names of the primary system and secondary system in the PDFHESHOST operand of the client environment definition. If you specify the host names in this manner, changing the value specified in the PDHOST or PDFESHOST operand is not necessary even after system switchover occurs. However, if the running system switches from the primary system to the secondary system, a UAP attempts to connect to the primary system (standby system). Because the UAP connects to the secondary system (running system) after the connection could not be established, the UAP processing time increases by the amount of time it takes to establish this new connection. To resolve this problem, set the host name for the client connection to an alias IP address and make sure that IP addresses are inherited. For details about specifying host names in such cases, see (3) IP addresses not inherited (only IP addresses for client connection inherited).

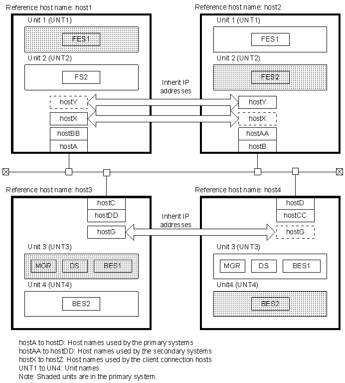
(3) IP addresses not inherited (only IP addresses for client connection inherited)

The following explains the procedure for handling (specifying) host names when IP addresses HiRDB/Parallel Servers use are not inherited, but IP addresses for client connections are inherited. The system configuration in this case is a 1:1 mutual system switchover configuration.

System configuration example
[Figure]

Explanation
  • hostA is the host name used by Unit 1 (primary system). hostA does not inherit IP addresses. hostAA is the host name used by Unit 1 (secondary system).
  • hostB is the host name used by Unit 2 (primary system). hostB does not inherit IP addresses. hostBB is the host name used by Unit 2 (secondary system).
  • hostC is the host name used by Unit 3 (primary system). hostC does not inherit IP addresses. hostCC is the host name used by Unit 3 (secondary system).
  • hostD is the host name used by Unit 4 (primary system). hostD does not inherit IP addresses. hostDD is the host name used by Unit 4 (secondary system).
  • hostX to hostZ are the host names (alias IP addresses) used for client connections. These hosts inherit IP addresses.
    Hint
    If the standard host names are the same (host1 = host2, host3 = host4), HiRDB cannot recognize a system switchover. Therefore, use different default host names.
 
Item Host names to be specified
Host names specified in system common definition pdunit -x hostA -u UNT1 -c hostAA
pdunit -x hostB -u UNT2 -c hostBB
pdunit -x hostC -u UNT3 -c hostCC
pdunit -x hostD -u UNT4 -c hostDD
Host names specified in the unit control information definition Unit 1 pd_hostname=host1
Unit 2 pd_hostname=host2
Unit 3 pd_hostname=host3
Unit 4 pd_hostname=host4
Host name specified during rlogin rlogin in server machine where BES1 is located hostC or hostD (specify the host name of the running system)
rlogin in server machine where BES2 is located hostC or hostD (specify the host name of the running system)
Host name specified in operation commands* Execution of operation commands in BES1 hostC
Execution of operation commands in BES2 hostD
Host name specified in utilities Execution of utilities in BES1 hostC
Execution of utilities in BES2 hostD
Host name displayed in messages Messages for BES1 hostC
Messages for BES2 hostD
Host name displayed in statistical information Statistical information about BES1 hostC
Statistical information about BES2 hostD
Host name specified in client environment definition PDHOST hostG
PDFESHOST hostX or hostY (specify the host name of the connected front-end server)

* The unit identifier may be specified instead of the host name.