Scalable Database Server, HiRDB Version 8 System Operation Guide

[Contents][Index][Back][Next]

18.24 Actions to take when a mismatch occurs between the original and the mirror duplicate

When a database is mirrored using the mirroring facility of LVM or the device driver, the duplicate volume may not match the original volume if an error occurs in the OS or server machine while the database is being copied or if the device driver shuts down input/output during a system switchover. This is called a mismatch between the original and the mirror duplicate. When it occurs, you use one of the following methods to eliminate the mismatch:

  1. Use a facility of LVM or the device driver to eliminate the mismatch between the original and the mirror duplicate
  2. Use the full recovery processing performed by HiRDB during a restart to eliminate the mismatch between the original and the mirror duplicate

Method 1 is usually used. You use method 2 when it is not possible to use the LVM or device driver's facility to eliminate the mismatch, or when the process of matching the original and duplicate volumes takes too long and, as a result, a system requirement, such as system switchover time, cannot be satisfied.

Organization of this section
(1) Using a facility of LVM or the device driver to eliminate the mismatch between the original and the mirror duplicate
(2) Using the full recovery processing performed by HiRDB during a restart to eliminate the mismatch between the original and the mirror duplicate
(3) Configuration example when the rapid system switchover facility is used
(4) Configuration example when the rapid system switchover facility is used (for AIX 5L V5.2 or later)

(1) Using a facility of LVM or the device driver to eliminate the mismatch between the original and the mirror duplicate

Preparation
Either specify N in the pd_redo_allpage_put operand or omit this operand.

Action to take when a mismatch occurs between the original and the mirror duplicate
Before restarting HiRDB, use the facility of LVM or the device driver to make the original and duplicate volumes match. Then restart HiRDB.

(2) Using the full recovery processing performed by HiRDB during a restart to eliminate the mismatch between the original and the mirror duplicate

Preparation
Specify Y in the pd_redo_allpage_put operand. When Y is specified, the full recovery processing performed by HiRDB during a restart writes into the database all pages that were updated at or subsequent to a synchronization point. This processing eliminates the mismatch between the original and the mirror duplicate.

Action to take when a mismatch occurs between the original and the mirror duplicate
There is no need to use the LVM or device driver's facility to make the original and duplicate volumes match. Restart HiRDB immediately. The full recovery processing performed by HiRDB during the restart will make the original and duplicate volumes match.
Note
Use of this method increases the volume of data written into the database during full recovery processing. Consequently, it will take longer to restart HiRDB than when method 1 is used. To reduce the volume of data that must be written into the database, it is recommended that you shorten the synchronization point acquisition interval. Use the pd_log_sdinterval operand to specify the synchronization point acquisition interval.

(3) Configuration example when the rapid system switchover facility is used

Figure 18-8 shows an example of a system configuration when the rapid system switchover facility is used in an environment in which the LVM mirroring facility is used to mirror the database.

In this example, the full recovery processing performed by HiRDB during a restart is used to eliminate a mismatch between the original and the mirror duplicate.

Figure 18-8 Example of a system configuration in which the rapid system switchover facility is used

[Figure]

Explanation
  • In a system configuration in which the rapid system switchover facility is used, position a Lightning/Thunder device so that it can be accessed from both the primary and secondary systems.
  • Specify Y in the pd_redo_allpage_put operand.

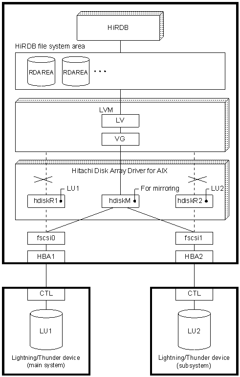
(4) Configuration example when the rapid system switchover facility is used (for AIX 5L V5.2 or later)

Figure 18-9 shows an example of a system configuration when the rapid system switchover facility is used in an environment in which the mirroring facility of Hitachi Disk Array Driver for AIX is used to mirror the database.

In this example, the full recovery processing performed by HiRDB during a restart is used to eliminate a mismatch between the original and the mirror duplicate.

Figure 18-9 Example of a system configuration in which the rapid system switchover facility is used (for AIX 5L V5.2 or later)

[Figure]

Explanation
  • In a system configuration in which the rapid system switchover facility is used, position a Lightning/Thunder device so that it can be accessed from both the primary and secondary systems.
  • Specify Y in the pd_redo_allpage_put operand.

Also use the mirroring facility of Hitachi Disk Array Driver for AIX to mirror the disk in which the HiRDB file system area for RDAREAs is located, as shown in Figure 18-10. Mirror both the primary and secondary systems.

Figure 18-10 Example of a disk configuration in which the system switchover facility is used (for AIX 5L V5.2 or later)

[Figure]

Legend:
HBA: Any of various types of physical adapter cards. A Fibre Channel Adapter is a type of HBA.
CTL: Lightning/Thunder controller.
LU: A Lightning/Thunder device is logically partitioned into LUs, each of which appears as a single physical disk for a host. The number assigned to an LU is called the LUN.
hdiskM: Pseudo device created for mirroring.
hdiskR1, hdiskR2: Real devices corresponding to LUs in Lighnting/Thunder series devices.

If an error occurs in the OS or server machine while the database is being copied or if system switchover occurs, mismatch may occur between the original and the mirror duplicate. However, the full recovery processing performed by HiRDB during a restart will make the original and the mirror duplicate match in terms of RDAREAs. Thus, there is no need to make the original and duplicate volumes match before restarting HiRDB.