Scalable Database Server, HiRDB Version 8 System Operation Guide

[Contents][Index][Back][Next]

11.7.3 Points to be noted about migrating multiple user RDAREAs to different back-end servers

Organization of this subsection
(1) Non-partitioned table
(2) Row-partitioned table

(1) Non-partitioned table

If a table and its index are stored in different RDAREAs, those RDAREAs should be placed in the same back-end server. After executing the database structure modification utility, dictionary tables (SQL_RDAREAS, SQL_TABLES, and SQL_INDEXES tables) should be referenced to check that the RDAREAs have migrated to the same back-end server.

(2) Row-partitioned table

  1. If a table and its index are stored in different RDAREAs, those RDAREAs should be placed in the same back-end server. After the database structure modification utility has executed, dictionary tables (SQL_RDAREAS, SQL_TABLES, SQL_DIV_TABLE, SQL_INDEXES, and SQL_DIV_INDEX tables) should be referenced to check that the RDAREAs have been migrated into the same back-end server.
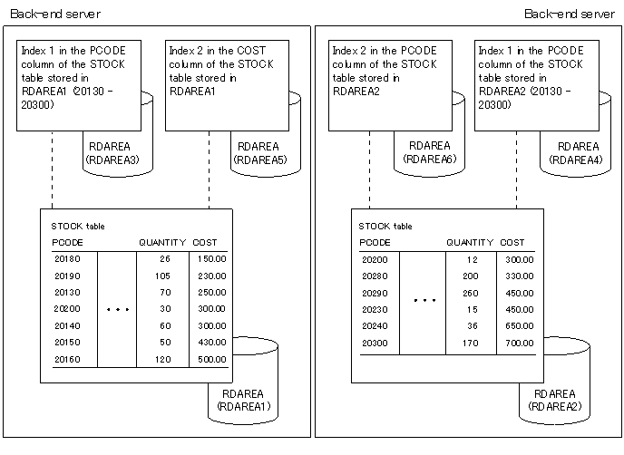
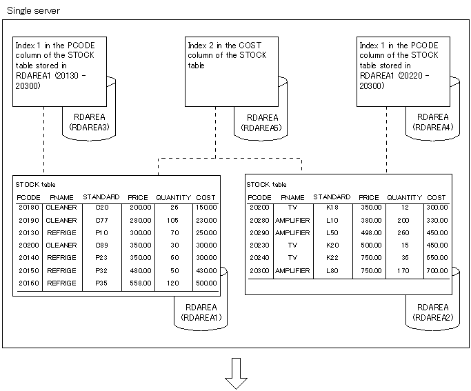
  2. When a non-partitioning index is defined for a table, the table cannot be migrated into multiple back-end servers. To migrate such a table into multiple back-end servers, the non-partitioning index must be deleted before migration; it can then be redefined after the migration. Figure 11-6 shows the procedure for migrating a table for which a non-partitioning index is defined.

    Figure 11-6 Procedure for migrating a table with a non-partitioning index defined

    [Figure]

    [Figure]

Explanation
The STOCK table is row-partitioned into RDAREA1 and RDAREA2. Index 1 is row-partitioned. Index 2 is not row-partitioned. To migrate the STOCK table into multiple back-end servers, delete Index 2, migrate the table, then define Index 2.