Scalable Database Server, HiRDB Version 8 Installation and Design Guide

[Contents][Index][Back][Next]

23.1.5 HiRDB system configuration for simple installation

Figure 23-1 shows the HiRDB system configuration that is provided by simple installation.

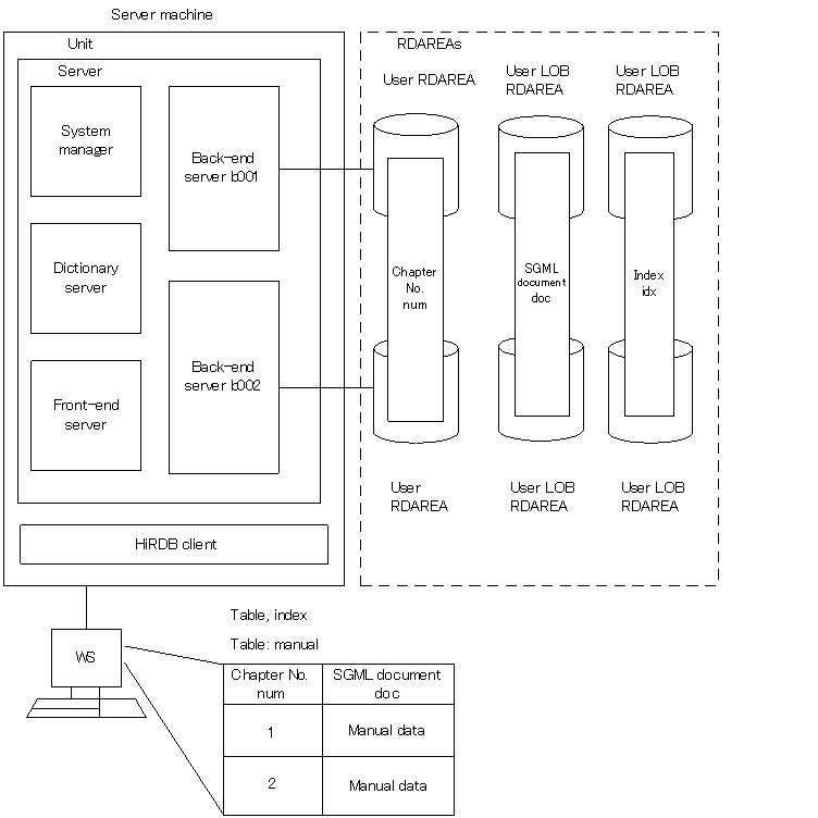
Figure 23-1 HiRDB system configuration provided by simple installation

[Figure]

Explanation
  1. In simple installation, only one server machine is used in order to simplify HiRDB system construction. However, a HiRDB/Parallel Server usually consists of multiple server machines for purposes of achieving parallel processing that includes data retrieval processing.
  2. A HiRDB unit is created; for an overview of a HiRDB unit, see (1) as follows.
  3. The HiRDB server configuration is set up; for an overview of the server, see (2) as follows.
  4. System files and RDAREAs are created in a file system area dedicated to HiRDB (HiRDB file system area). System files and system RDAREAs are omitted from Figure 23-1, because the user does not need to know about them in simple installation. For an overview of system files, see (3) as follows; for an overview of RDAREAs, see (4) as follows.
  5. A table and index are defined in the RDAREAs created in step 4 above, and then data is stored in them. For details about table and index definition, see 23.5 Defining a table and index.

The unit, server, system files, and RDAREAs that are important components of a HiRDB system are explained briefly as follows.

Organization of this subsection
(1) Unit
(2) Server
(3) System files
(4) RDAREAs

(1) Unit

The environment element in which HiRDB operates on one HiRDB server machine is called the unit. When there are multiple server machines, there is one unit for each server machine.

(2) Server

The HiRDB/Parallel Server achieves parallel processing by dividing the database management system's facilities in units of servers.

Table 23-3 lists the types of HiRDB servers.

Table 23-3 Types of HiRDB servers

Server Role
System manager Controls HiRDB startup and termination.
Front-end server Determines from the SQL database language the database access method and sends execution instructions.
Back-end server Accesses database according to instructions sent from the front-end server.
Dictionary server Collectively manages database definition information.

(3) System files

A file used by a HiRDB system to recover the system status in the event of an error is called a system file. Table 23-4 lists the types of HiRDB system files.

Table 23-4 Types of HiRDB system files

Type of file Role
System log file Stores historical information about database updating.
Synchronization point dump file Stores HiRDB management information. Can be used together with system log files during error recovery.
Status file Stores system status information needed in order to restart HiRDB.

(4) RDAREAs

The unit of storage for database information is called an RDAREA. One RDAREA may consist of multiple HiRDB-dedicated files in a HiRDB file system area. Table 23-5 lists the principal types of RDAREAs.

Table 23-5 Principal types of RDAREAs

RDAREA Role
System RDAREA Stores system information such as dictionary tables.
User RDAREA Stores tables and indexes that are created by the user.
User LOB RDAREA Stores in units of KB, MB, or GB large amounts of table and index data (as binary data) created by a user.