通信管理 XNF/AS 構成定義編

[目次][索引][前へ][次へ]

2.3.3 代表選択のグループ指定

X.25VCプロトコルで接続する,同一種別の複数の回線で代表アドレスによる通信を行う場合,X25_group_define文とNL文のX25_group_VASSオペランドを使って回線をグループ化します。

グループ化することによって,複数の回線に同じアドレス,同じ代表仮想スロット番号が割り当てられます。上位プログラムが代表仮想スロット番号を指定するだけで,通信管理が空き回線の割り当てなどを自動的に行います。グループ内では,各回線の最大パケット長,回線速度を同じにすることを推奨します。

回線割り当ての方式は,ISDN網(回線交換)は同一の相手とデータリンク確立済みの場合は,そのデータリンク上にネットワークコネクションを多重化します。未確立の場合は,グループ配下の最も大きい仮想スロット番号の回線を割り当てます。HNA2次局機能を使用した通信で同一相手との発着信がグループ内の別回線ですれ違った場合,両方とも確立できないことがあります。

パケット網, ISDN網(パケット交換)は,回線のスループットより回線利用率の低い回線を割り当てます。

代表選択でグループ化できる範囲を次に示します。

ハードウェア構成:
回線アダプタ

接続網種別
パケット網
ISDN網(パケット交換−TA経由)
ISDN網(回線交換−TA経由)

注※
ハードウェア構成に関係なく同じ種別の網はグループに定義できますが,異なる網種別は同じグループに定義できません。上位の通信機能によって,利用できる接続網種別に違いがあります。マニュアル「XNF/AS 解説・運用編」の「適用通信網・回線」で確認してください。

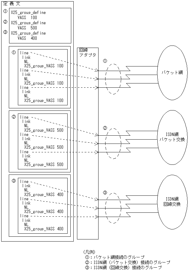
代表選択のグループ指定を行った場合の定義文と回線接続構成との関係の概略を図2-9に示します。

図2-9 代表選択のグループ指定を行った場合の定義文と回線接続構成との関係

[図データ]